Toyota Files Several Patents For EV Manual Transmission

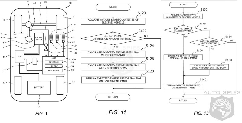
Toyota appears to be exploring the idea of using manual transmission (MT) systems for modern electric vehicles, at least based on several patents with the United States Patent and Trademark Office (USPTO). Toyota’s manual transmission patents hint at the company’s next move in the electric vehicle market.
Patent 20220041155A1, first seen in
BZ Forums, for Toyota’s EV with manual transmission refers to a controller configured to control the torque of the electric motor. It also mentions a shift reaction force generator that generates a shift reaction force when the driver operates the vehicles’ “pseudo-shifter,” providing an experience similar to manual gas-powered cars that use a stick shift and clutch pedal to switch gears. It seems Toyota’s EV MT design will also rely on similar tools to shift between gears, except the patents refer to them as the “pseudo-shifter,” “pseudo-gearshift” and “pseudo-clutch pedal.”
Read Article
Copyright 2026 AutoSpies.com, LLC