Stellantis Patents Vibration System To Mimic The Feel Of A V8 In An EV

Performance EVs have proved to be quicker to 60 mph than the vast majority of the ICE alternatives, more refined by virtue of having fewer moving parts, and more pliable, offering instant power and torque. However, there’s one thing that even the most die-hard electric zealots will struggle to argue against: when it comes to emotion and character, an EV powertrain can’t harness the same characteristics that make a great ICE so unique.
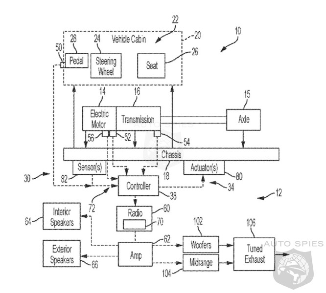
Or can they? If you’re an engineer at Dodge, chances are you may disagree. A patent filed last year by Stellantis showcases a new Active Sound Enhancement (ASE) system and Active Vibration System Enhancement (AVE), which aim to bring back some of the fizzes that will be lost as their upcoming muscle cars go electric.
Read Article
Copyright 2026 AutoSpies.com, LLC