Porsche Patents 2 Times 3 Stroke Spirograph Like Engine

Porsche is working on an innovative engine concept that could bring significant gains in efficiency and power density.
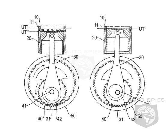
First discovered by our sister site, AutoGuide, Porsche has filed a patent application (Appl. No. 18/585,308) with the United States Patent and Trademark Office (USPTO), developed in collaboration with the Technical University of Cluj-Napoca in Romania. This patent outlines a unique "two times three strokes" engine design that could potentially revolutionize internal combustion technology.
The engine uses a crankshaft mechanism that moves within a ring (annulus) to create a motion similar to a spirograph toy. This unique design allows the crankshaft to rotate with two different top dead centers (TDC) and two different bottom dead centers (BDC) during the cycle.
Read Article
Copyright 2026 AutoSpies.com, LLC