SHARE THIS ARTICLE

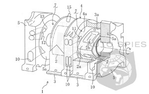
t looks like Mazda silently filed a patent for a twin-spark, direct injection variant of the company’s legendary rotary powerplant. The application, which was submitted last October, was only approved last month.

The rotary type powerplant, which was first developed and patented by Felix Wankel a German engineer back in the 50s, has always been capable of producing high power outputs relative to its small footprint, but has also been found out to consume a lot of fuel and come with high levels of emissions. To solve this, direct injection was added as one of the ways by which to manage fuel consumption levels, and it has been thought that Mazda will be going this path with the latest variant of its Renesis rotary unit. Moreover, it looks like the carmaker is working on the revision of the dimensions of the rotor housing and the distance between the two spark plugs, which may be favorable to emissions.

Read Article


Mazda fills patent for direct injection rotary powerplant

About the Author