SHARE THIS ARTICLE

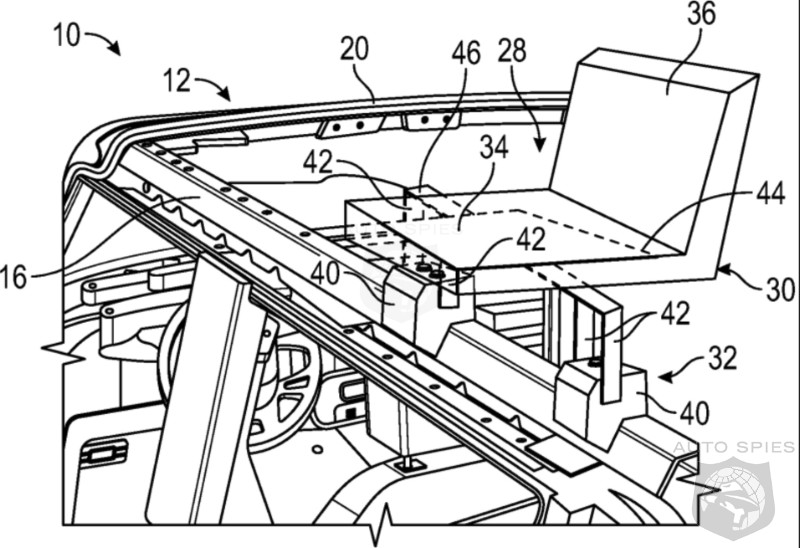
There are few pleasures in life that rival sitting on top of your car, miles from anyone in the middle of the wilderness, staring up at the vast inky-black sky painted with stars. Ford apparently understands this as much as I do and wants to patent a roof-rail-mounted chair for "camping and tailgating activities."

The patent concept is relatively straightforward. On vehicles with removable roofs (like, say, a Bronco, which that drawing is quite reminiscent of), the seat would mount directly to the exposed roof rail. The seat itself would swivel, and in the patent application, Ford details various possible features: a seat heater, built-in speakers, a battery charger, lighted cup holders, reading lamps, and a load equalizer—the last of which presumably will help keep people who sit strangely, as I do, from falling off the top of their trucks.



Read Article


Ford Considers Patent For Roof Mounted Seat

About the Author

Agent009