SHARE THIS ARTICLE

BMW, who has arguably been a late comer to the hybrid movement, has something up their German, over engineered sleeves.

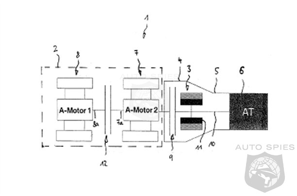
Take a look at what Autocar is reporting. Apparently, they are saying that BMW has filed a patent that shows a split engine. The purpose of the split engine would be for one motor to be assisted by the other.

Certainly an interesting move by the Bavarians. Let's see if this one pans out...

Autocar reports:

"BMW is working on a hybrid system that uses two engines, detailed in a recent patent application.

Described as a ‘hybrid vehicle having a split engine’, the idea is for the car to be driven by one of the engines and the electric motor at low speeds or when power demands are low. When more speed or power is needed, the second engine cuts in."



2010 Detroit Auto Show Photo Gallery

2010 San Diego Auto Show Photo Gallery

2011 Toyota Sienna Photo Gallery

2009 LA Auto Show Photo Gallery

AutoSpies.com Photo Galleries

If you want to see your photos running on our homepage photo ticker, be sure to upload your photos on the go by sending them to Mobile@AutoSpies.com

Share on Facebook
 


There are photos and then there are AutoSpies.com photos!

AutoSpies.com is ranked number one on Google search for auto shows


Read Article


SPIED: BMW Patent Application Shows Possible Upcoming Hybrid Technology

About the Author

Agent00R