AutoSpies.com
| Newsletter |
Login with Facebook Follow us on Twitter Follow us on Pinterest
  • Automotive News
    • Top News
    • Most Recent
    • Spy Shots
    • Spy News
    • New Cars
    • Misc News
    • Photo Galleries
    • Reviews
    • Report Cards
    • Videos
    • Polls
    • Rumors
    • Auto Sales
    • Submit An Article
  • Photo Galleries
    • 2023 Detroit Auto Show
    • Spy Photos Fall 2023
    • Detroit Auto Show-A Look Back
    • RAM 1500 Revolution
    • LA Auto Show
    • 2022 NAIAS NY Auto Show
    • Singer Porsche 911 Samples
    • 2022 Mercedes-Benz CLS
    • Beijing Exhibition-Auto China 2020
    • Infiniti QX60 Monograph
    • Auto Tech & Gadgets 2020
    • 2021 Ford Bronco Family
    • Best Spy Photos Of Summer 2020
    • 2021 Dodge Durango Charger Challenger Hellcat
    • 2021 BMW 5-Series Spy Shots
    • Spy Shots May 2020
    • Geneva Motor Show
    • Geneva Motor Show Preview
    • 2020 Consumer Electronics Show (CES)
    • 2019 LA Auto Show
    • View more galleries…
  • Tagged mazda rotary engine Articles

Mazda Envisions Rotary Sports Car of the Future - With Audi?

trymeesubmitted on 6/14/2011 Auto Spies Photos Timestamp: 12:10:11 PM

Mazda will soon stop producing the RX-8, its only rotary-engined model; however,...

Views : 12,042 | Category: Misc News

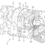
Mazda fills patent for direct injection rotary powerplant

trymesubmitted on 5/22/2009 Auto Spies Photos Timestamp: 10:27:39 AM

t looks like Mazda silently filed a patent for a twin-spark, direct injection va...

Views : 16,412 | Category: Misc News


Next Page

Submit an article

Photo Galleries


Photo Galleries

Latest Photo Galleries

  • 2027 VW Atlas NY Auto Show
  • 2027 KIA Telluride
  • 2025 Ford F150 Powerboost Hybrid
  • 2025 Chevrolet Corvette ZR1
  • 2025 BMW M5
  • Porsche 911 Custom Color Sample Gallery
  • Tesla Cybertruck Hits Showrooms
  • 2023 Detroit Auto Show
  • Spy Photos Fall 2023
  • All-New Toyota Land Cruiser
  • Detroit Auto Show-A Look Back
  • RAM 1500 Revolution
  • Mercedes-AMG S 63 E PERFORMANCE
  • LA Auto Show
  • Porsche 911 Dakar Concept
  • 2024 Sierra EV
  • Spy Photos Fall 2022
  • 2023 Ford Super Duty
  • 2024 Ford Mustang
  • Dodge Charger Daytona SRT Concept
  • 2023 Dodge Hornet
  • Ford Bronco Heritage Editions
  • 2024 Chevrolet Blazer EV
  • 2023 Toyota Crown
  • 2023 Honda HR-V
  • Spy Photos Summer 2022
  • The BMW M3 Edition 50 Year BMW M
  • The New BMW 3-Series
  • Spy Photos Spring 2020
  • 2023 Range Rover Sport
  • Lexus RZ
  • 2022 NAIAS NY Auto Show
  • CyberRodeo Tesla Hightlights
  • Toyota GR Corolla
  • Maserati Grecale SUV
  • 2023 Mercedes-AMG GT 63 and GT 63 S 4-Door Coupe
  • 2023 Acura Integra
  • 2023 Toyota Sequoia
  • 2022 Toyota Auto Salon
  • 2022 Toyota Tundra Capstone
  • BMW Concept M
  • Next Generation Ford Ranger
  • 2021 LA Auto Show LAAS2021
  • 2022 Toyota RAV4
  • Spy Photos Fall 2021
  • 2021 SEMA Show
  • The All New Mercedes SL
  • 2022 Range Rover
  • 2022 GMC Sierra And Denali
  • 2022 Lexus LX600

More photo galleries


AutoSpies.com
  • About Us
  • Contact Us
  • Advertising
  • Privacy Policy
  • Terms of Use

Development and hosting by T-Tech Solutions LLC